 來源:遠東泵業 發布日期
                2017-12-02 09:35 瀏覽:-
來源:遠東泵業 發布日期
                2017-12-02 09:35 瀏覽:-在很多復雜的化工場合,比如易燃易爆,強腐蝕,易污染,或者含顆?;蛘呃w維等等。用戶除了要求泵要達到規定的技術參數以外,還對密封提出特別的要求,要求盡量做到“滴液不漏”!這種情況我們可以考慮選擇磁力密封和雙端面機械密封。由于磁力密封造價昂貴,很多用戶為了降低生產成本,不愿意選用。其實雙端面機械密封也是比較理想的選項,因為它的價格相對要便宜,而且安裝和使用如果符合要求的話,也能基本做到“滴液不漏”!那么如何才能正確安裝和調試雙端面機械密封呢?下面我以高粘度轉子泵NYP-220B選用雙端面機械密封為例,進行說明:
工況條件:介質名稱:瀝青含石粉磨料,溫度:220度,流量:20m3/h,壓力:0.8MPa。
分析:瀝青含石粉,屬于高溫易磨損的工況,對密封要求比較高。一般單端面機械密封或者填料密封很快就會磨損失效,而且瀝青低溫或者遇到空氣會凝固,將密封面粘死,導致密封失效。根據以上工況條件,應該選擇雙端面機械密封,摩擦副選擇硬質合金的,比較耐磨。
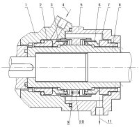
雙端面機械密封結構簡圖
如圖所示,件2-3和件6-7摩擦副應該選擇硬質合金材質的。機械密封上的輔助密封應該選擇氟橡膠的,密封效果好且耐高溫。密封函內應該加入導熱油或者其它密封冷卻液。從加油孔4處連接到儲液罐。儲液罐內要保持一個恒定的壓力,保持密封面的內側和外側的壓力基本平衡。這樣使得密封面的內外的壓差很小,大限度的減少了漏液的可能。
儲液罐安裝示意圖
儲液罐內的壓力怎么確定呢?首先要測量一下密封函內在工作狀態的壓力,(注意,密封函內的壓力跟泵出口的壓力是不一樣的)。然后確定儲液罐內的壓力,略高于密封函壓力0.05--0.15MPa比較合理。儲液罐的安裝位置,要高于泵頭1.5--2.0米為好。這樣始終保持密封函內充滿液體。
遠東泵業NYP-220B高粘度內齒泵配套儲液罐安裝圖片
過這樣合理安裝與調試,雙端面機械密封用于泵行業的實例就圓滿的完成了。并且經過多年的實際應用,證明效果非常好,密封壽命也能提高很多。
遠東泵業30多年來一直堅持為客戶創造價值!
我們在努力了解您的需求,遠東泵業提供給您的不僅僅是產品,還有的流體輸送解決方案。為你解決流體輸送的難題,讓你省心又省力!如果有任何關于流體輸送泵的疑問,請立即撥打遠東泵業免費咨詢熱線:020-82375311,我們會為您提供貼心的服務!
 全國服務熱線:020-82375311
全國服務熱線:020-82375311
聯系電話:020-82375311
傳真:020-82386622
聯系QQ:2853715911
公司地址:廣州市黃埔區黃埔東路621號
【責任編輯】:遠東泵業 版權所有:http://m.businesstianjin.com.cn/轉載請注明出處